On October 9, 2025, the Ministry of Industry and Information Technology (MIIT) officially released the 400th batch of the Announcement of Road Motor Vehicle Manufacturers and Products (hereinafter referred to as the “Announcement”). This batch of the Announcement features a number of notable models worth paying attention to, ranging from hybrid vehicles to off-road chassis, bringing new ideas to the current and future commercial vehicle market. In this article, let’s take a quick look at these outstanding models!
Domestic Scania 4-Axle Truck Chassis

In the previous 399th batch of the Announcement, Scania Manufacturing (China) Co., Ltd. applied for 7 new models, including 3 semi-trailer tractors, 3 special operation vehicle chassis, and 1 truck chassis. These models represent the launch of the first batch of domestically produced Scania trucks, marking a new era of localization for the “King of the Highway” in China. Building on previous products, Scania has applied for the SAS1320GSN001 truck chassis in the 400th batch of the Announcement, further enriching the product lineup of domestic Scania.

The model applied for by Scania in this batch is the 500 R 8×4 truck chassis. Similar to previous domestic Scania models, this truck chassis also adopts the R-series platform, is equipped with a CR20H high-roof cab with a sleeper, removes the roof spotlights, and is powered by the localized Super powertrain: the DC 13 220 engine. This engine corresponds to Scania’s European DC 13 174 engine, delivering 500 horsepower and a torque of 2,650 N·m (overseas version). In the previous batch of the Announcement, Scania applied for the 460 R 6×2 rear-lift truck chassis. With the launch of this batch of new products, domestic Scania can provide more diverse solutions for truck transportation applications.

In terms of optional configurations, the domestic Scania 500 R 8×4 truck chassis can be optionally equipped with or without side storage compartments, without a rear camera, without roof horns, and without wheel nut caps—mostly differentiated configurations in details.
HOWO’s New-Generation Natural Gas Heavy-Duty Truck

At the Sinotruk 2025 Partner Conference held on December 8, 2024, the latest generation platform product of Sinotruk Jishang was officially unveiled. Positioned as a mobile “home of dreams”, the vehicle’s exterior integrates the “Starlight Mecha” design concept, with sharp lines and distinct edges, perfectly combining and showcasing a sense of mechanics and technology. In this batch of the Announcement, Sinotruk Jishang further applied for the HOWO ZZ4257V384TF1LB tractor. It uses natural gas power and forms a product combination with the previously applied diesel-powered version.

This new model is equipped with the Weichai WP16NG series natural gas engine, with five optional horsepower configurations: 640hp, 680hp, 700hp, 720hp, and 750hp. With its powerful power, this model has become one of the natural gas tractors with the highest horsepower in China and even globally. The WP16NG series is Weichai’s flagship natural gas power unit, adopting advanced technologies such as offset crankshaft technology, folded air passage design, and a high-energy ignition system. It can significantly enhance power while reducing fuel consumption, easily coping with challenges in complex road conditions such as mountainous areas.

Sinotruk Jishang provides a wide range of optional configurations for this new model, including front face designs, gold logos, roof-mounted parking air conditioners, etc. An electronic rearview mirror system is also available as an optional configuration, which can further reduce the vehicle’s air resistance, reduce wind noise, and provide a clearer driving view in environments such as nighttime and severe weather.
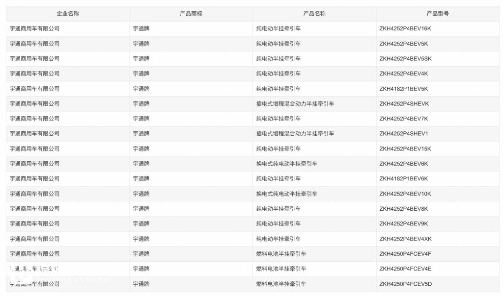
Yutong New Energy Tractors Go All Out

As a well-known bus manufacturer nationwide and even globally, Yutong has continued to make efforts in fields such as new energy heavy-duty trucks and new energy sanitation equipment in recent years. In the 400th batch of the Announcement, Yutong has “gone all out” by applying for 18 new energy tractor models in one go, covering multiple technical routes such as pure electric, battery swap, and fuel cell. These new products demonstrate the rich solutions Yutong provides for the market, backed by its strong technical strength accumulated through deep involvement in the new energy commercial vehicle industry.


Among these 18 new energy tractor models, two plug-in extended-range hybrid semi-trailer tractors are particularly eye-catching. They adopt a rear-mounted + under-mounted battery pack structure, are equipped with CATL lithium iron phosphate power batteries, and support external charging. To improve range performance, the vehicle is additionally equipped with a Yuchai YCY25170-66 2.5L diesel engine. Serving as an extender, it can be started on demand to drive a generator and charge the vehicle’s battery. Supporting both refueling and charging, this is one of the most effective solutions to address the “range anxiety” of pure electric vehicles at present.
“Mengshi” Off-Road Chassis Family Expands


In the 400th batch of the Announcement, Dongfeng Motor Group Co., Ltd. applied for two off-road vehicle chassis. These are derivative models of the “Mengshi” MS600 off-road vehicle family, with single-cab and double-cab configurations respectively. They are equipped with high-position air intakes, metal bumpers, front winches, chassis guards, etc., and can optionally have the original cab rear wall cut. It is not difficult to see from these configurations that the vehicle has a strong recreational attribute and may stand out in segmented fields such as off-road RVs.

The distinctive optional configurations implicitly indicate the vehicle’s intended use from the side.
GAC Lingcheng New Pure Electric Tractor Launched

In response to the future development of the commercial vehicle industry, GAC has launched reform and transformation. Since April 21, 2025, the former “GAC Hino” has been officially renamed “GAC Lingcheng”, focusing on the new energy commercial vehicle industry. In this batch of the Announcement, GAC Lingcheng’s YC4255SSMBEV pure electric tractor made its debut. The vehicle can optionally be equipped with lithium iron phosphate batteries from CATL and Sunwoda, and is equipped with two Tebuijia TZ220XSTPG69 electric motors, with a total peak power of 460kW (625hp). Based on a mature platform, GAC Lingcheng has successively delivered multiple batches of pure electric heavy-duty trucks, and its “transformation breakthrough” has achieved initial results.

Summary
So far, we have covered all the outstanding models in the 400th batch of the Announcement. Whether it is the expansion of domestic Scania truck chassis, the acceleration of new energy products by Yutong and GAC, or the debut of HOWO’s new platform models, these developments have provided impetus for the development of the industry. Truck drivers, which model do you think is the most interesting? Welcome to share your thoughts with us in the comment section! Thank you for reading this article! If you want to see more interesting and informative commercial vehicle content, don’t forget to follow us!
原创文章,作者:ctinsa,如若转载,请注明出处:https://www.ctinsa.com/new-trucks/7158